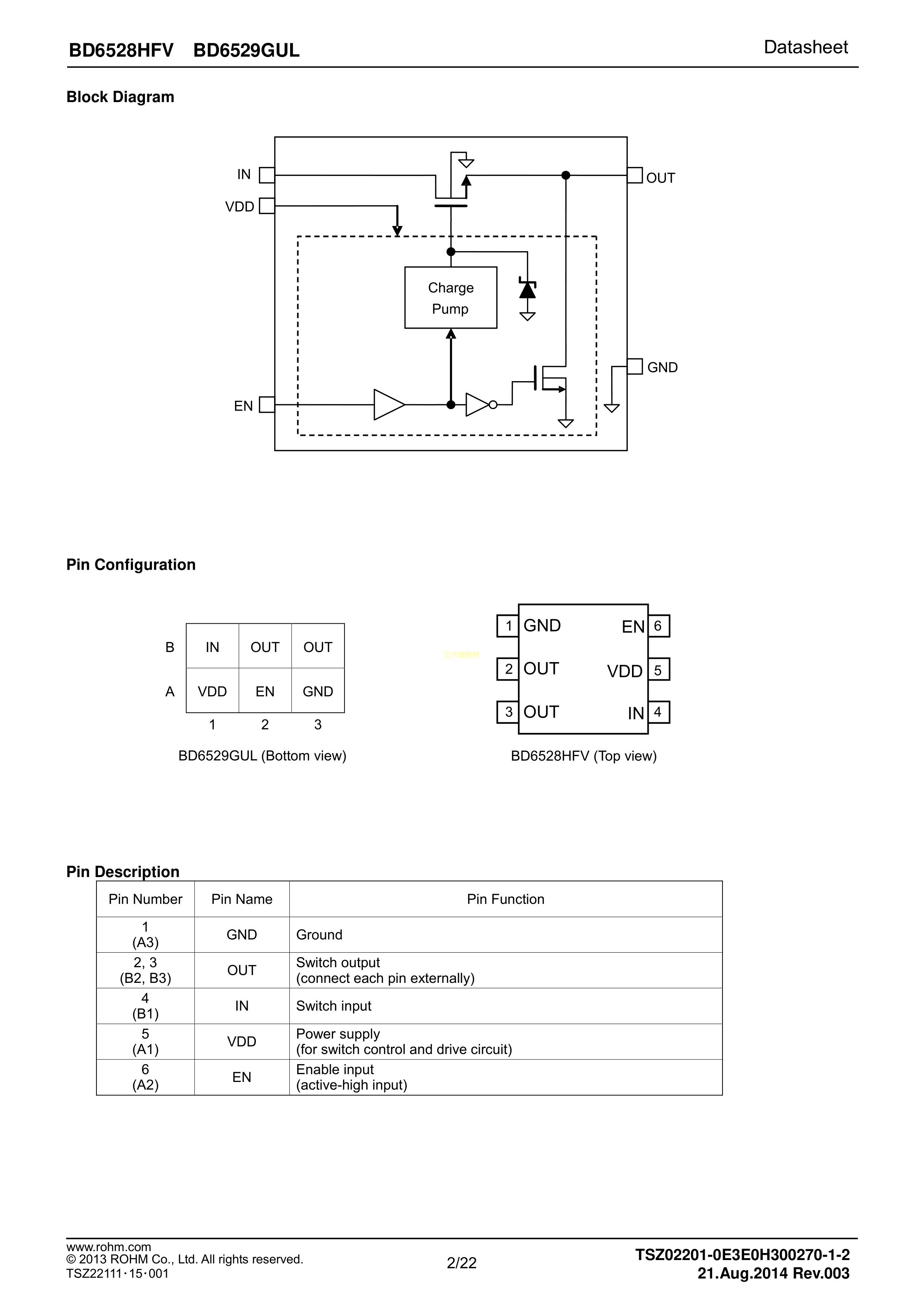
BD6529GUL-E2数据手册HVSOF-6封装ROHM(罗姆)PDF规格书,中英文下载
- 2022-07-18 14:35:00
- zxj 原创
- 8
发表评论
页尾说明
|
移动访问
|