规格书
124
2026-01-19
USB口OVP过压保护芯片
USB口OVP过压保护芯片型号:PW2609A PW2609A是一颗常用于USB口端,做输入的过压保护芯片,输入耐压40V,OVP过压保护可默认6.1V或者可调OVP设置选择,地内阻,可达通过3A电流, ...
135
2026-01-14
3.7v升压5v芯片选型指南,为单节锂电池应用匹配高效电源方案
在便携式电子设备中,单节锂离子/聚合物电池(标称电压3.7V,工作范围约3.0V-4.2V)是主流的储能选择,而为系统中的各类芯片、传感器和外设供电通常需要稳定的5V电压。这就需要一个高效、可靠的3.7v升压5v芯片来完成这一关键的能量转换...
128
2026-01-14
3.7v升压5v芯片选型指南,为单节锂电池应用匹配高效电源方案
在便携式电子设备中,单节锂离子/聚合物电池(标称电压3.7V,工作范围约3.0V-4.2V)是主流的储能选择,而为系统中的各类芯片、传感器和外设供电通常需要稳定的5V电压。这就需要一个高效、可靠的3.7v升压5v芯片来完成这一关键的能量转换...
153
2026-01-14
3.7V升压5V/1A芯片选型指南,PW5100、PW5300A与PW6276全面解析
在便携式电子设备、锂电池供电系统及智能硬件中,3.7V升压5V 1A芯片是实现高效能量转换的核心组件。此类芯片需具备高效率、低功耗、稳定输出及良好的负载适应能力。本文将以无锡平芯微(PWCHIP)的三款典型升压芯片——PW5100、PW53...
148
2026-01-14
3.7V升压至5V/2A解决方案,PW5100、PW5300A与PW6276芯片选型与设计指南
在便携式电子设备、智能充电与锂电池供电系统中,常需将单节锂电池的典型电压(约3.7V)升压至稳定的5V输出,并支持2A以上的负载电流。针对这一3.7v升压5v2A的设计需求,无锡平芯微半导体(PWCHIP)提供了多款高效率、高集成度的DC-...
206
2026-01-14
3.7V升压至5V/2A解决方案,PW5100、PW5300A与PW6276芯片选型与设计指南
在便携式电子设备、智能充电与锂电池供电系统中,常需将单节锂电池的典型电压(约3.7V)升压至稳定的5V输出,并支持2A以上的负载电流。针对这一3.7v升压5v2A的设计需求,无锡平芯微半导体(PWCHIP)提供了多款高效率、高集成度的DC-...
152
2026-01-14
3.7V锂电池充电芯片选型指南,PW4054H、PW4057H、PW4056HH与PW4213详解
在单节锂离子电池(标称电压3.7V)供电的便携式设备中,选择一款高效、稳定且外围简洁的充电管理芯片至关重要。本文将聚焦3.7V锂电池充电芯片,深入解析平芯微(PWCHIP)旗下的四款主流型号:PW4054H、PW4057H、PW4056HH...
184
2026-01-14
单节锂电池充电芯片核心选型,高可靠性充电方案技术精要
单节锂电池充电芯片作为便携设备电源管理的核心,其选型直接关系到充电效率、系统安全与整体续航。面对不同应用场景对充电电流、输入耐压及封装尺寸的差异化需求,平芯微半导体(PWCHIP)提供了覆盖线性与开关降压拓扑的完整解决方案,其中PW4054...
150
2026-01-14
单节锂电池充电芯片核心选型,高可靠性充电方案技术精要
单节锂电池充电芯片作为便携设备电源管理的核心,其选型直接关系到充电效率、系统安全与整体续航。面对不同应用场景对充电电流、输入耐压及封装尺寸的差异化需求,平芯微半导体(PWCHIP)提供了覆盖线性与开关降压拓扑的完整解决方案,其中PW4054...
171
2026-01-14
解锁快充潜能,PW6606如何成为设备的“智能电源钥匙”
面对市面上琳琅满目的USB PD和QC快充适配器,工程师们常思考:能否让我的设备(比如一台新型路由器或一把电动螺丝刀)也智能识别并利用这些高压电源,从而摆脱笨重专用充电器的束缚?实现这一想法的核心,在于一颗被称为 PD快充诱骗芯片...
106
2026-01-14
解锁快充潜能,PW6606如何成为设备的“智能电源钥匙”
面对市面上琳琅满目的USB PD和QC快充适配器,工程师们常思考:能否让我的设备(比如一台新型路由器或一把电动螺丝刀)也智能识别并利用这些高压电源,从而摆脱笨重专用充电器的束缚?实现这一想法的核心,在于一颗被称为 PD快充诱骗芯片...
164
2026-01-14
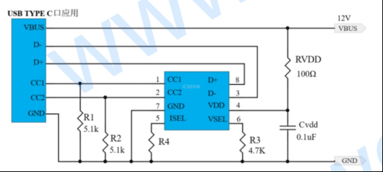
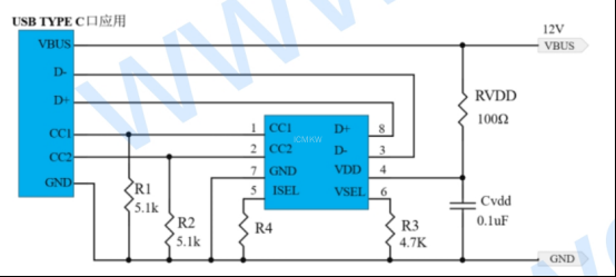
USBPD快充电压诱骗芯片,设备接入通用快充生态的智能钥匙与PW6606方案深度解析
在USB Power Delivery(PD)快充标准普及的今天,如何让不具备完整协议处理能力的小型设备,也能从通用的PD/QC适配器中获取到9V、12V乃至20V的高压电能,从而大幅提升充电速度或驱动功率?这背后离不开一颗关键芯片——US...
136
2026-01-14
高压LED驱动的可靠之选,深度解析PW4115A开关降压型恒流芯片
在需要60V耐压的LED照明驱动方案中,工程师常常寻求一颗既可靠又高效的恒流控制芯片。作为广受认可的PT4115的60V耐压版本,PW4115A正是为满足此类高压应用需求而设计的开关降压型恒流驱动器。它继承了前代产品的易用性与高性能,同时显...
168
2026-01-14
PW2605Z,专为系统安全护航的高可靠性负载开关
在电子系统设计中,电源路径的智能管理与保护至关重要。PW2605Z 作为一款高性能的负载开关集成电路,其核心使命是在输入电源与后续系统之间构建一道可靠的安全屏障。它不仅能实现电源的通断控制,更集成了全面的输入过压、输出过流及过热保...
127
2026-01-14
PW2605Z,专为系统安全护航的高可靠性负载开关
在电子系统设计中,电源路径的智能管理与保护至关重要。PW2605Z 作为一款高性能的负载开关集成电路,其核心使命是在输入电源与后续系统之间构建一道可靠的安全屏障。它不仅能实现电源的通断控制,更集成了全面的输入过压、输出过流及过热保...
187
2026-01-14
OVP过压保护芯片选型指南,从原理到应用的全景解析
在各类电子设备的前端电源设计中,OVP过压保护芯片(Over-Voltage Protection IC)是抵御异常高电压、保障后续精密电路安全的第一道防线。当输入电压因适配器故障、热插拔浪涌或意外情况而异常升高时,一颗可靠的OVP芯片能在...
163
2026-01-14
OVP过压保护芯片选型指南,从原理到应用的全景解析
在各类电子设备的前端电源设计中,OVP过压保护芯片(Over-Voltage Protection IC)是抵御异常高电压、保障后续精密电路安全的第一道防线。当输入电压因适配器故障、热插拔浪涌或意外情况而异常升高时,一颗可靠的OVP芯片能在...
125
2026-01-14
守护设备命脉,深入解析USB过压保护芯片PW2609A及其家族解决方案
在现代电子设备中,USB端口作为连接外界电源与数据的核心通道,其安全性直接决定了整个系统的可靠性。一个看似平常的热插拔动作,或是一个劣质充电器,都可能引发致命的电压浪涌。因此,USB过压保护芯片已成为高端设计中不可或缺的“守门神”。它如同一...
203
2026-01-14
面向双节串联锂电池的高效充电解决方案,5V升压至8.4V/2A充电芯片PW4253及其系列选型指南
随着便携式电子设备、电动工具、蓝牙音箱等产品对电池容量和续航要求的不断提升,双节串联锂电池(标称电压7.4V,充满电压8.4V)的应用日益广泛。然而,如何从常见的5V USB或适配器电源,高效、安全、稳定地为两节串联电池充电,成为系统设计的...
184
2026-01-04
USB专用过压保护ic芯片选型指南
随着电子设备向高性能、高集成度方向发展,电源系统的稳定性面临前所未有的挑战。从日常使用的USB接口到严苛的车载环境,电压浪涌、电流冲击、静电放电等瞬态威胁时刻存在。传统保护方案如保险丝反应迟钝,稳压二极管功率有限,已难以满足现代电子产品对可...
174
2025-12-27
锂电池升压5V2A芯片首选方案!对应型号PW6276,电子工程师高效能之选
在众多便携式电子设备、物联网终端和手持仪器中,如何将单节锂电池(典型电压3.7V)高效、稳定地转换为设备所需的5V/2A电源,一直是电源设计中的关键挑战。本文将深入解析一款专为此类应用设计的升压转换器芯片——PW6276,探讨其技术特点、应...
171
2025-12-27
3.7V升压5V芯片深度剖析,PW5100/PW5300A/PW6276,选型无忧
引言:单节锂电池供电系统的5V升压需求在便携式电子设备设计中,单节锂电池(标称电压3.7V,工作范围3.0V-4.2V)因其高能量密度和紧凑尺寸而被广泛采用。然而,大量外围电路、传感器和接口芯片需要标准的5V供电电压,这就产生了将3.7...
162
2025-12-27
3.7V升压5V 1A芯片精选推荐,高效率低功耗,满足工程需求
一、技术背景与应用场景在现代便携式电子设备设计中,单节锂电池供电已成为主流选择。其标称电压3.7V(实际范围3.0V-4.2V)与设备中大量芯片、接口所需的5V标准电压之间存在天然差距。1A电流输出能力的5V电源,对应着5W的功率需求,...
176
2025-12-27
PW6606快充充电器电压诱骗芯片,快充生态中的电压取电解决专家
当前,快速充电技术已在消费电子领域高度普及,各类支持QC、PD、AFC等协议的充电设备层出不穷。然而,大量存量设备及特定嵌入式产品因设计年代或功能定位原因,无法主动识别并触发充电器的快充协议,导致其连接现代高性能充电器时,仅能获取默认的5V...
218
2025-12-27
两节串联锂电池充电管理芯片,普通,高压,快充输入选型介绍
在现代便携式电子设备、电动工具、储能系统等领域,两节串联锂电池因其7.4V标称电压、较高的能量密度和相对安全的电压范围而得到广泛应用。这种配置通常采用两个18650电芯或聚合物锂电池串联而成,工作电压范围为6V(深度放电)至8.4V(充满状...
238
2025-12-27
电路安全防线,平芯微过压过流保护芯片深度解析与应用指南
在电子设备日益精密、供电环境错综复杂的今天,电源端的任何异常波动——无论是瞬间的电压浪涌,还是意外的过载短路——都可能导致核心电路永久性损坏,造成不可挽回的损失。因此,为电路系统构筑一道可靠、智能的“前端安全防线”已成为工程师设计的重中之重...
211
2025-12-27
输入短路保护芯片PW2605R,5V适用,充电线防水保护USB口必备
一、防护挑战:为什么5V系统需要专业保护?在各类以5V供电的电子设备中,USB端口、充电接口和电源输入线是系统最脆弱且最易受损的环节。常见风险包括:插拔过程中的瞬间短路:金属异物、液体侵入导致VCC与GND直接连接电源适配器劣化...
242
2025-12-27
锂电池升压5V芯片深度剖析,PW5100/PW5300A/PW6276,选型无忧
引言:单节锂电池供电系统的5V升压需求在便携式电子设备设计中,单节锂电池(标称电压3.7V,工作范围3.0V-4.2V)因其高能量密度和紧凑尺寸而被广泛采用。然而,大量外围电路、传感器和接口芯片需要标准的5V供电电压,这就产生了将3.7...
191
2025-12-27
锂电池升压5v1A芯片精选推荐,高效率低功耗,满足工程需求
一、技术背景与应用场景在现代便携式电子设备设计中,单节锂电池供电已成为主流选择。其标称电压3.7V(实际范围3.0V-4.2V)与设备中大量芯片、接口所需的5V标准电压之间存在天然差距。1A电流输出能力的5V电源,对应着5W的功率需求,...
208
2025-12-26
3.7v升压5v2A首选方案!对应型号PW6276,电子工程师高效能之选
在众多便携式电子设备、物联网终端和手持仪器中,如何将单节锂电池(典型电压3.7V)高效、稳定地转换为设备所需的5V/2A电源,一直是电源设计中的关键挑战。本文将深入解析一款专为此类应用设计的升压转换器芯片——PW6276,探讨其技术特点、应...
页尾说明






















