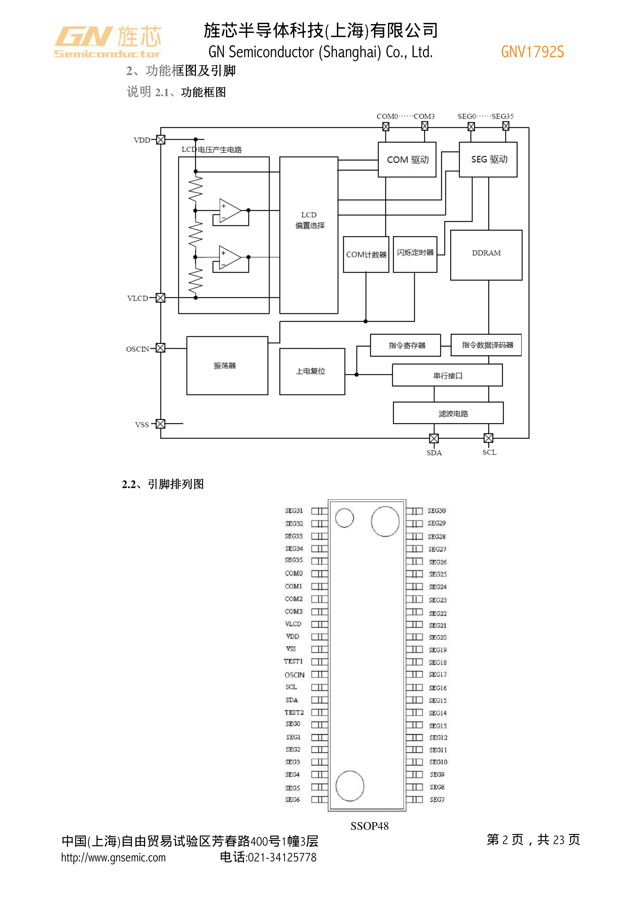
GNV1792S数据手册SSOP-48封装GN(旌芯半导体)PDF规格书,中英文下载
- 2022-07-12 11:22:00
- zxj 原创
- 39
发表评论
页尾说明
|
移动访问
|