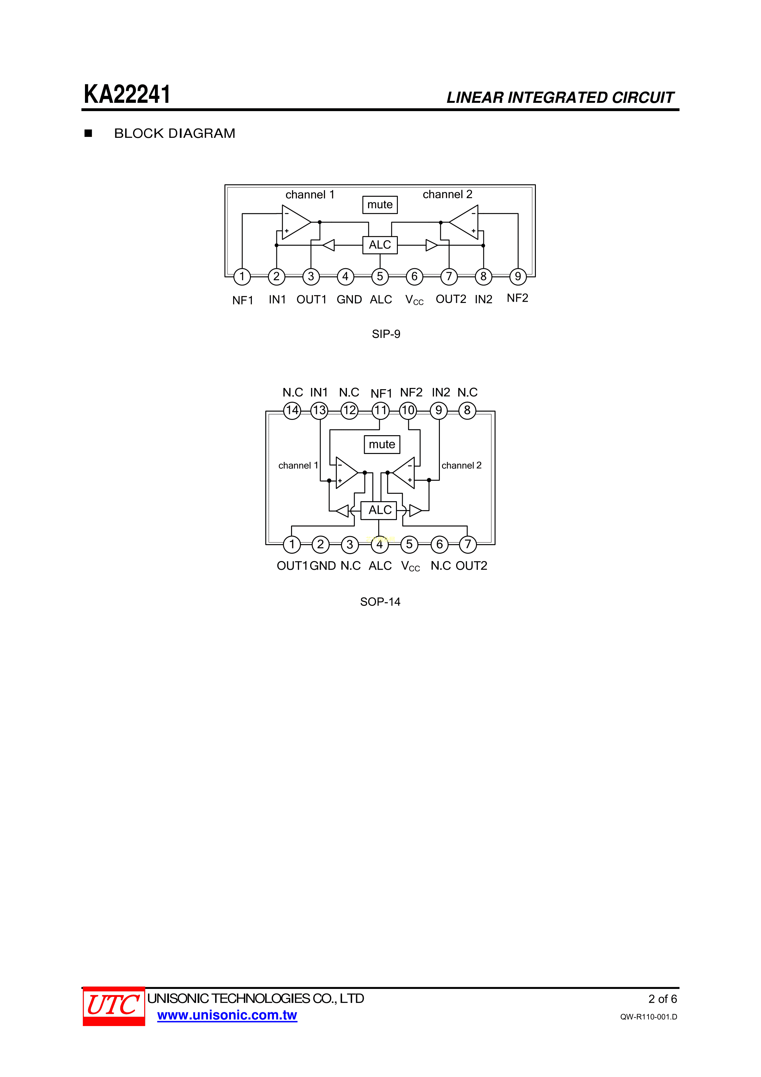
KA22241G-S14-R数据手册SOP-14_150mil封装UTC(友顺)PDF规格书,中英文
- 2022-08-04 00:16:00
- zxj 原创
- 17
发表评论
页尾说明
|
移动访问
|