华碧
|
摘要:
分析结果表明:新能源和无人驾驶汽车快速发展使得车规芯片发挥着越来越重要的作用,也是车规芯片产业应用中的一个重要方向。对集成电路设计公司入驻车规芯片相关验证流程和规范标准、车规芯片相关可靠性验证、失效分析等方面进行了说明,并对车规芯片量产化过程中实现零缺陷这一目标进行了讨论,分析了国产车规芯片在研制过程中所面临的问题及其局限性,并对其研制方向进行了预测。
引言 随着汽车电子的深入发展,以及汽车行业确立的新四化(电动化、网联化、智能化、共享化)发展方向,这给半导体芯片在汽车领域的应用带来新的机遇。近年来需求更有快速发展,为汽车市场带来了新一轮产业变革。使车规芯片无论在电源控制,底盘控制,还是信息娱乐应用领域都发挥着越来越大的作用。在过去 5年中,全球汽车半导体市场复合增长率每年在4.8%左右,中国汽车半导体市场复合增长率更高达11.6%。其主要原因是新能源汽车电子化程度的不断提高导致了对各种汽车半导体的需求量急剧增加。据德勤预测,汽车半导体收入将在2022年突破600亿美元,势必会吸引更多芯片厂商参与其中。
相比消费类电子芯片,车规芯片要求更加苛刻, ( 1)车规芯片是高于消费类以及工业芯片标准; ( 2)车规芯片对于工作环境有着更为苛刻的要求,比如,温度、湿度、EMC、有害气体侵蚀等等,针对它们的不同用途有着不同的要求; ( 3)车规芯片开发验证花费多,门槛高,周期长; ( 4)需要通过相应的审核标准。
车规芯片有两个条件, ( 1)符合零失效的供应链质量管理标准IATF 16949规范; ( 2)满足由北美汽车产业所推的AEC可靠性标准。
受车规芯片设计周期长、技术壁垒高等因素影响,汽车芯片行业整体表现为国外巨头独占鳌头,比如以高端车规芯片为核心细分市场的英飞凌、瑞萨。与此同时,全国各地也出现数十家芯片设计公司作为汽车电子芯片提供商,种类涉及辅助驾驶,中控,电池管理,图像传感器及信号处理器。
国际上传统车企例如丰田,福特及大众更积极致力于汽车电子芯片之开发,而国内部分主流车厂亦纷纷加入芯片开发行列,例如比亚迪、上汽等用多种形式参与芯片研发拥抱汽车芯片产业新革命的企业,更易将其应用场景和财力与芯片设计相结合,促进芯片设计快速引进。以新能源为代表的特斯拉更是推出 FSD芯片,一场围绕高级别自动驾驶的竞争也已经开始,汽车行业加速进入智能化时代。
文章结合车规芯片这个庞大的市场,针对其使用特点及进入这一领域所需要的标准,着重将讨论进入这一领域所需的检定条件 ——IATF 16949规范及AEC中的可靠性标准,对失效芯片进行老化筛选测试和根因分析保证车规芯片可靠性,达到零失效。最后围绕车规芯片验证规范的标准化,可靠性验证的全面化,高效的老化筛选测试以及专业的失效分析进行展望。
车规芯片的相关验证 IATF16949
在汽车行业,质量认证活动在世界各个地区均有自己的行业认证标准和要求,例如汽车制造强国德国汽车工业的 VDA6.1标准、法国的EAQF标准、意大利的AVSQ标准以及美国的QS-9000标准。成立于1997年的国际汽车特别工作组(IATF)为实现汽车行业统一的全球质量体系标准和认证,与国际标准化组织(ISO/TC 176)合作,以各国汽车工业标准为基础,并于1999年制定并推出质量要求ISO/TS16949技术规范,《IATF16949》是当前的最新版质量管理体系标准。IATF16949是国际汽车小组是以顾客为导向同时兼顾其特殊要求,针对近年汽车行业比较关注的一些问题,如汽车安全等,在标准中增加了新的条款[6,7]。IATF16949规范适用于汽车制造厂和其直接的零部件供应商,这些工厂直接关系到汽车生产,能够进行加工制造活动和通过这类活动实现产品增值。以芯片全产业链为例,晶圆制造厂和封装厂都需严格执行IATF16949规范进行汽车芯片生产。而仅有设计配送中心等支持功能的机构则无需取得此认证。
AEC标准认证
汽车 电 子 委 员 会 ( A E C : A u t o m o t i v e Electronics Council)由三大北美汽车公司(克莱斯勒、福特和通用汽车)在1994年为建立一套通用的质量系统标准而设立。AEC制定了产品质量控制方面的准则,在促进汽车零部件通用性落实的前提下,也为迅速的市场发展奠定了良好基础。其规范标准主要包括AEC-Q100(集成电路IC)、AEC-Q101(离散组件)、AEC-Q102(离散光电LED)、AEC-Q104(多芯片组件)、AEC-Q200(被动组件)。其中AEC-Q100是专门针对IC集成电路的验证规范,其目的是要确定器件在应用中能够通过应力测试达到某种要求的品质和可靠度。
车规芯片设计
通过对该产品使用功能、工况(电压、频率范围等)和芯片所采用单元设计库技术的验证,确定了电路设计原则以达到车规芯片的要求。所实施的流程可查明潜在故障模式及其给系统和用户带来的后果,并查明故障的严重性和可能造成故障的因素。考虑了冗余设计问题,这种设计能够以纠错码方式避免可能出现的数据预留错误和更换存在缺陷单元。设置了自我检测机制,利用芯片的合理检测时间为电路添加部分路径节点来检测,发现存在问题的单元并对其做出相应处理以减少因工艺波动而造成的损失。
在芯片设计阶段,就要开始着手芯片可靠性实验的考量,使用计算机辅助工程分析和仿真工具可以更短的时间内提高产品可靠性。有限元分析,热分析以及可靠性预测模型等工具正在得到越来越广泛的应用,这样车规芯片在设计之初主动来提高器件可靠性和稳定性。
芯片晶圆制造
晶圆的制作主要环节为离子注入、光刻、蚀刻、镀膜的工艺流程。每个过程都要借助数学统计研究分析工具来寻找最优参数来满足芯片良率与质量的改善。 fab厂通过检测每道工序具体测试参数,芯片数量,频率等信息,可以保证制程的稳定性。
芯片测试
尽量使测试覆盖率达到最短时间内预先甄别不良品以免流向客户端。芯片测试更快速高效的重要途径之一就是通过对芯片进行自测设计,同时还能降低对外部 ATE的资源依赖性。良品测试limit标准设定可以采用AEC_Q004文档中的建议,基于一定的数据量标准差公式来设定,Static PAT Limits=Robust Mean±6 Robust Sigma。通过大数据分析,管控工艺波动,保证产品质量稳定性,该方法可以定期进行Review和更新。产品在使用前的故障是良率,而在产品使用时的故障是可靠性,所以芯片的试验直接关系着芯片的可靠性。
浴盆曲线是由三部分组成,早妖期、稳定期和损耗期。老化筛选测试( Burn in)是ATV(Automotive)芯片测试很重要的一个步骤,它的主要功能就是去除了芯片出货时产品早期失效的芯片,达到用户端的高可靠性。早妖期指失效率比较高的时期,芯片失效的原因一般都是由于芯片先天存在的瑕疵或者问题造成的,比如设计上的瑕疵、工艺制造上的不正常或者材质上的内在缺陷。这些缺陷可诱发与时间和应力有关的失效,故障率一般用Dppm来表示。具体方法是先对芯片进行一定时间的100%老化测试,例如加偏压,加高温等,然后再进行正常的ATE 测试进行筛选。浴盆曲线(图1)中的稳定期代表着芯片在使用寿命期间失效率是相对稳定的,通常按FIT(failure in time)或MTBF(Mean Time Between Failure)小时数来描述其失效。损耗阶段表明芯片的失效率开始因为芯片内在电路损耗而上升,代表已到达了芯片的极限使用寿命。
AEC-Q100芯片可靠性验证
AEC-Q100作为汽车电子可靠性验证的标准,其主要目的: ( 1)客户有可以参考的标准规范; ( 2)芯片供货商可以排除芯片可能存在的潜在故障。
AEC-Q100根据器件工作环境温度分为不同的产品等级,这与芯片具体应用有关,其中最严格最高等级标准的工作温度范围是-40~150℃之间。芯片供应商需不断地对产品设计进行不断地优化,使用先进且稳定的制造及封装工艺,并在此基础上使用严格的测试程序进行筛选,以满足车规芯片在工作温度及可靠度等方面的高水准。
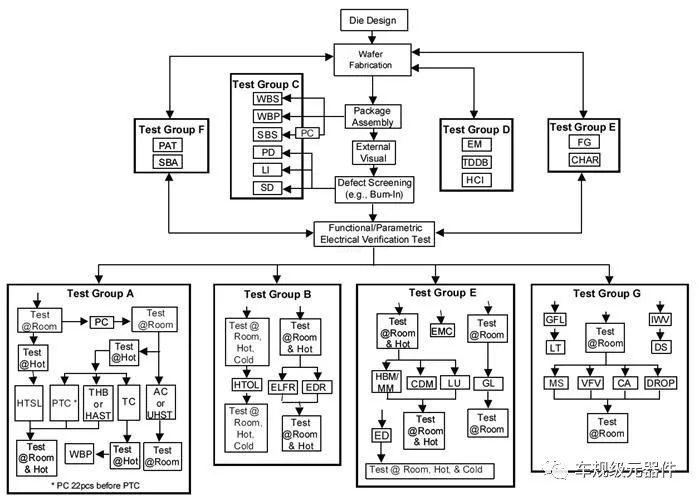
AEC-Q100明确了芯片在设计,制造,封装,测试和量产等各个阶段所需要的验证以及相关的卡控标准。从其内容来看,具体包含7大类别共41项的测试,如图2所示即为AEC-Q100 Rev-H 的验证流程及规范内容[12]。大致分为:Group A(加速环境应力测试)、Group B(加速工作寿命测试)、Group C(封装完整性测试)、Group D(晶圆级可靠性测试)、Group E(电性验证测试)、Group F (可筛选性测试)、Group G(密封型封装完整性测试)。
目前 AEC-Q100已成为车规芯片的重要规范,通常车规芯片供应商需要完成其项目的验证,然后以“自我宣告”的方式说明其产品通过了其相关的验证结果,AEC不会给予供应商任何认证。由于样本数量较小,上述检验为必要的不足检验,体现了该方法存在局限性。测试项目可应用于否认器件可用性,但是无法判断大批量量产芯片是否符合特定场景下的使用标准。因此对量产车规芯片进行老化筛选测试就变得非常重要,使供给用户的芯片在稳定期内工作,增加其可靠度。同时对其进行失效分析一方面能够确定导致芯片发生故障的根因并采取相应的措施来根治这一问题,另一方面对于固有缺陷问题也能解决,可通过优化和加严测试筛除以达到车规芯片的零失效率。
要求通过 AEC-Q100标准的车用集成电路IC 单颗 IC,如各类传感芯片、MCU芯片、MPU芯片、存储类芯片、计算类芯片、安全类芯片、LED类驱动芯片、电源芯片、运算放大器、比较器、感知用模拟芯片、通信类芯片等。
华碧实验室 AEC-Q100车用IC产品验证流程
华碧实验室 AEC-Q100测试项目分组 群组 A--加速环境应力测试(PC、THB/HAST/AC、UHST/TH、TC、PTC、HTSL)共6项测试 群组 B--加速生命周期模拟测试(HTOL、ELFR、EDR)--共3项测试 群组 C--封装组装完整性测试(WBS、WBP、SD、PD、SBS、LI)--共6项测试 群组 D--芯片制造可靠性测试(EM、TDDB、HCI、NBTI、SM)--共5项测试 群组 E--电性验证测试(TEST、HBM/MM、CDM、LU、ED、FG、CHAR、EMC、SC、SER、LF)--共11项测试 群组 F--缺陷筛选测试(PAT、SBA)--共2项测试 群组 G--腔体封装完整性测试(MS、VFV、CA、GFL、DROP、LT、DS、IWV)--共8项测试
华碧能力范围及 AEC-100技术要求
关于华碧实验室
华碧实验室是国内领先的集检测、鉴定、认证和研发为一体的第三方检测与分析的新型综合实验室,拥有丰富的车规级电子认证经验,已成功帮助300多家企业顺利通过AEC-Q系列认证,通过AEC-Q100对每一个芯片个案进行严格的质量与可靠度确认。
失效 半导体在其开发,生产,使用等各个环节都不可避免地存在着失效问题。通过有的放矢地进行失效分析:
(1)可以协助设计人员找出芯片设计上的缺陷,例如通过FIB电路修补的方式亦可验证该结果。 (2)可以找出芯片在制造,封装等工艺中存在的缺陷,提出切实可行的改善方案。 (3)评估不同测试向量的有效性,为生产测试提供必要的补充。芯片的故障分析主要以微观世界为背景,通过电性、物理、化学及材料等多角度的观察与分析,从根本上寻找导致芯片故障的因素,主要分析工具及试验方法如图3。
半导体芯片工艺制程的复杂度不断提高,也给失效分析造成较大困难,如降低线宽需要电镜较高分辨率,降低金属层间距给样品制备造成困难。透过失效现象并在结合芯片设计及工作原理的前提下,把握精确的芯片信息资料及数据,从而做出正确分析判断。
一般半导体芯片使用后的失效机理可分为以下几类。
(1)芯片设计存在缺陷,主要体现芯片功能不能实现。 (2)本体类的相关失效,如半导体材料缺陷或封装中所用基板本身存在的问题。 (3)工艺波动造成的失效。
芯片介质层相关失效,如栅氧,金属间介质层等缺陷;
硅衬底和SiO2界面间存在缺陷,如Dislocation等;
芯片后端金属互联层由于金属的电迁移或含卤素及卤化物的污染造成的金属腐蚀等;
封装工艺参数不合理导致的管脚连线造成的短路或者开路等。
分析 车规芯片安全性与可靠性为第一考量,不仅响应于芯片设计与开发阶段,测试筛选与可靠性验证更显重要。它巨大的市场前景让越来越多的芯片供应商进入这一领域并加入到车规芯片产业规划中来。结合供应链质量管理标准IATF16949规范以及AEC-Q100可靠性的要求,当前车规芯片验证的流程和体系需要更加完善。
(1)车规芯片标准化系统的建立,应由技术专家(汽车整机,芯片设计、制造,封装以及芯片测试等领域)来建立一套更加专业化,规范化,流程化的标准是必要的。 (2)芯片可靠性验证需更加全面,产品的可靠性是需要考虑设计进去以及制造出来。 (3)老化测试需要更有效,车规芯片可以通过100%老化除去早期失效器件,对服从威布尔Weibull分布的参数β在1以下,也就是前期故障率呈显着降低趋势,这将突出老化测试。在实现杜绝芯片早期失效的同时,尽可能缩短老化测试的时间; (4)对于失效芯片根因进行分析,需构成闭环。尤其是要发现因工艺制造参数卡控不尽合理或试验覆盖不完全而遗漏的失效芯片,否则会造成批次性问题。不同失效案例需从芯片设计,工艺制造,封装测试,器件使用等方面进行数据收集与综合分析以发现失效根因,然后反馈并形成解决方案。同时芯片制造产线需要应用更多主动的专业监控技术,例如,CPK技术、SPC技术和PPM技术,可以对生产能力、工艺稳定性进行分析和预测。 |
